Sun Microsystems, Inc.   Sun System Handbook - ISO 4.1 October 2012 Internal/Partner Edition
   Home | Current Systems | Former STK Products | EOL Systems | Components | General Info | Search | Feedback

ft-SPARC[tm]

Model 1500

OPTION MEMORY DESCRIPTION
5800 32MB Model 1500 with 1×40MHz SuperSPARC
5801 64MB Model 1500 with 1×40MHz SuperSPARC
5802 128MB Model 1500 with 1×40MHz SuperSPARC
5803 256MB Model 1500 with 1×40MHz SuperSPARC
5804 512MB Model 1500 with 1×40MHz SuperSPARC
5810 32MB Model 1500 with 2×40MHz SuperSPARC
5811 64MB Model 1500 with 2×40MHz SuperSPARC
5812 128MB Model 1500 with 2×40MHz SuperSPARC
5813 256MB Model 1500 with 2×40MHz SuperSPARC
5814 512MB Model 1500 with 2×40MHz SuperSPARC
5820 32MB Model 1500 with 4×40MHz SuperSPARC
5821 64MB Model 1500 with 4×40MHz SuperSPARC
5822 128MB Model 1500 with 4×40MHz SuperSPARC
5823 256MB Model 1500 with 4×40MHz SuperSPARC
5824 512MB Model 1500 with 4×40MHz SuperSPARC
5830 32MB Model 1500 with 1×80MHz SuperSPARC
5831 64MB Model 1500 with 1×80MHz SuperSPARC
5832 128MB Model 1500 with 1×80MHz SuperSPARC
5833 256MB Model 1500 with 1×80MHz SuperSPARC
5834 512MB Model 1500 with 1×80MHz SuperSPARC
5840 32MB Model 1500 with 2×80MHz SuperSPARC
5841 64MB Model 1500 with 2×80MHz SuperSPARC
5842 128MB Model 1500 with 2×80MHz SuperSPARC
5843 256MB Model 1500 with 2×80MHz SuperSPARC
5844 512MB Model 1500 with 2×80MHz SuperSPARC
5850 32MB Model 1500 with 4×80MHz SuperSPARC
5851 64MB Model 1500 with 4×80MHz SuperSPARC
5852 128MB Model 1500 with 4×80MHz SuperSPARC
5853 256MB Model 1500 with 4×80MHz SuperSPARC
5854 512MB Model 1500 with 4×80MHz SuperSPARC

Model 1600

OPTION MEMORY DESCRIPTION
6800 32MB Model 1600 with 1×40MHz SuperSPARC
6801 64MB Model 1600 with 1×40MHz SuperSPARC
6802 128MB Model 1600 with 1×40MHz SuperSPARC
6803 256MB Model 1600 with 1×40MHz SuperSPARC
6804 512MB Model 1600 with 1×40MHz SuperSPARC
6810 32MB Model 1600 with 2×40MHz SuperSPARC
6811 64MB Model 1600 with 2×40MHz SuperSPARC
6812 128MB Model 1600 with 2×40MHz SuperSPARC
6813 256MB Model 1600 with 2×40MHz SuperSPARC
6814 512MB Model 1600 with 2×40MHz SuperSPARC
6820 32MB Model 1600 with 4×40MHz SuperSPARC
6821 64MB Model 1600 with 4×40MHz SuperSPARC
6822 128MB Model 1600 with 4×40MHz SuperSPARC
6823 256MB Model 1600 with 4×40MHz SuperSPARC
6824 512MB Model 1600 with 4×40MHz SuperSPARC
6830 32MB Model 1600 with 1×80MHz SuperSPARC
6831 64MB Model 1600 with 1×80MHz SuperSPARC
6832 128MB Model 1600 with 1×80MHz SuperSPARC
6833 256MB Model 1600 with 1×80MHz SuperSPARC
6834 512MB Model 1600 with 1×80MHz SuperSPARC
6840 32MB Model 1600 with 2×80MHz SuperSPARC
6841 64MB Model 1600 with 2×80MHz SuperSPARC
6842 128MB Model 1600 with 2×80MHz SuperSPARC
6843 256MB Model 1600 with 2×80MHz SuperSPARC
6844 512MB Model 1600 with 2×80MHz SuperSPARC
6850 32MB Model 1600 with 4×80MHz SuperSPARC
6851 64MB Model 1600 with 4×80MHz SuperSPARC
6852 128MB Model 1600 with 4×80MHz SuperSPARC
6853 256MB Model 1600 with 4×80MHz SuperSPARC
6854 512MB Model 1600 with 4×80MHz SuperSPARC


ft-SPARC

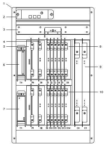
Models 1500 and 1600

Front View

CODE PART # IMP # DESCRIPTION
1 f370-2445
f370-2446
f370-2447
f370-2530
f370-2552
f370-2553
f370-3288
f370-2557
f370-2558
f370-2559
f370-3289
f370-2627
f370-2628
f370-2631
f370-2644
f370-2649
0001A
0004B
0053B
0089A
0125A
0125B
0125C
0142A
0143A
0144B
0144C
0219A
0220A
0224A
0236C
0241A
CHASSIS-D 1
CHASSIS-U (1500 chassis)
CHASSIS-DRIVE
CHASSIS-COMMS
CHASSIS-D 1
CHASSIS-D 1
CHASSIS-D 1
CHASSIS-DT 2
CHASSIS-D 1
CHASSIS-DT 2
CHASSIS-DT 2
CHASSIS-U-110 (110V 1500 chassis)
CHASSIS-U-220 (220V 1500 chassis)
CHASSIS-F 3
CHASSIS-DRIVE
CHASSIS-600-48NB (1600 chassis)
2 f370-2487
f370-2488
f370-2547
0041A
0042A
0117A
CONTROL-D (DSC chasssis)
CONTROL-U (1500 chassis)
CONTROL-U (1500 chassis)
3 370-2486 0040C FANS
4 - - IOSET Slots S0 and S8
5 f370-2483
f370-2484
f370-2485
0037A
0038B
0039A
POWER-AC
POWER-48
POWER-48NB
6 f370-2584
f370-2585
0173B
0173C
CDROM
CDROM
7 f370-2470
f370-2471
f370-3687
0028B
0028C
0028D
TAPE-DAT-8
TAPE-DAT-8
TAPE-DAT-8
8 - - FTIO Bus B0 Slots S0 - S6
9 - - CPUSET Slots C0 and C1
10 - - FTIO Bus Slots S8 - S14

  1. A 24" wide chassis designed for Digital Switch Corporation (DSC).
  2. DSC chassis that does not support the drive chassis.
  3. Reduced depth chassis designed to fit the Fujitsu FETEX-150 rack.

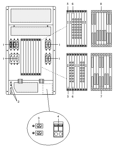
Rear View

CODE PART # IMP # DESCRIPTION
1 - - I/O Connectors
2 f370-2489
f370-2490
f370-2634
0043A
0044A
0227A
CONSOLE-D (DSC chassis)
CONSOLE-U (1500 chassis)
CONSOLE-U (1500 chassis)
3 - - AC Configured Chassis
4 - - -48VDC Configured Chassis
5 f370-2494
f370-2595
f370-2629
f370-2710
f370-2711
0048A
0185A
0222A
0308A
0309A
VICPLINE
VICP-8-LINE
VICP-8-LINE-FT
VICP-8-LINE-NC
VICP-8-LINE-FT-NC
6 f370-2495 0049A VICPDRIVER
7 f370-2521 0081A BACKPLANE-COM16 (Model 1500 only)
8 f370-2522 0082A BACKPLANE-COM32 (Model 1500 only)


ft-SPARC

Models 1500 and 1600 CPU

PART # IMP # DESCRIPTION
f370-2456 0013C CPUSET SPARC-1-32-40
f370-2457 0014D CPUSET,SPARC1-64-40
f370-2458 0015C CPUSET SPARC1-128-40
f370-2459 0016C CPUSET SPARC1-256-40
f370-2460 0017C CPUSET SPARC1-512-40
f370-2461 0019C CPUSET SPARC1-32-40-LA
f370-2462 0020A CPUSET SPARC1-64-40-LA
f370-2463 0021B CPUSET SPARC1-128-40-LA
f370-2464 0022C CPUSET SPARC1-256-40-LA
f370-2465 0023C CPUSET SPARC1-512-40-LA
f370-2501 0055B PACK-CPUSET
f370-2531 0091C CPUSET-SPARC2-32-40
f370-2532 0092C CPUSET-SPARC2-64-40
f370-2533 0093D CPUSET-SPARC2-128-40
f370-2534 0094C CPUSET-SPARC2-256-40
f370-2535 0094D CPUSET-SPARC2-256-40
f370-2536 0095C CPUSET-SPARC2-512-40
f370-2537 0097C CPUSET-SPARC2-32-40-LA
f370-2538 0098C CPUSET-SPARC2-64-40-LA
f370-2539 0099C CPUSET-SPARC2-128-40-LA
f370-2540 0100C CPUSET-SPARC2-256-40-LA
f370-2541 0101C CPUSET-SPARC2-512-40-LA
f370-2542 0103C CPUSET-SPARC4-32-40
f370-2543 0104C CPUSET-SPARC4-64-40
f370-2544 0105C CPUSET-SPARC4-128-40
f370-2545 0106C CPUSET-SPARC4-256-40
f370-2546 0107C CPUSET-SPARC4-512-40
f370-2550 0120C CPUSET-SPARC1-64-40-LA
f370-2551 0121C CPUSET-SPARC1-128-40-LA
f370-2570 0157A FU-CPUSET-PROM
f370-2596 0186B CPUSET-SPARC-1-32-80
f370-2597 0187B CPUSET-SPARC-1-64-80
f370-2598 0188B CPUSET-SPARC-1-128-80
f370-2599 0189B CPUSET-SPARC-1-256-80
f370-2600 0190B CPUSET-SPARC-1-512-80
f370-2601 0191B CPUSET-SPARC1-32-80-LA
f370-2602 0192B CPUSET-SPARC1-64-80-LA
f370-2603 0193B CPUSET-SPARC1-128-80-LA
f370-2604 0194B CPUSET-SPARC1-256-80-LA
f370-2605 0195B CPUSET-SPARC1-512-80-LA
f370-2606 0196B CPUSET-SPARC-2-32-80
f370-2607 0197B CPUSET-SPARC-2-64-80
f370-2608 0198B CPUSET-SPARC2-128-80
f370-2609 0199B CPUSET-SPARC2-256-80
f370-2610 0200B CPUSET-SPARC2-512-80
f370-2611 0201B CPUSET-SPARC2-32-80-LA
f370-2612 0202B CPUSET-SPARC2-64-80-LA
f370-2613 0203B CPUSET-SPARC2-128-80-LA
f370-2614 0204B CPUSET-SPARC2-256-80-LA
f370-2615 0205B CPUSET-SPARC2-512-80-LA
f370-2616 0206B CPUSET-SPARC-4-32-80
f370-2617 0207B CPUSET-SPARC-4-64-80
f370-2618 0208B CPUSET-SPARC-4-128-80
f370-2619 0209B CPUSET-SPARC-4-256-8
f370-2620 0210B CPUSET-SPARC-4-512-8
f370-2639 0233A FRU-CPUSET-PROM
f370-2655 0248B CPUSET-SPARC-1-32-40
f370-2656 0249B CPUSET-SPARC1-32-40-LA
f370-2657 0250B CPUSET-SPARC-1-64-40
f370-2658 0251B CPUSET-SPARC-1-64-40-LA
f370-2659 0252B CPUSET-SPARC1-128-40
f370-2660 0253B CPUSET-SPAR1-128-40-LA
f370-2661 0254B CPUSET-SPARC1-256-40
f370-2662 0255B CPUSET-SPAR1-256-40-LA
f370-2663 0256B CPUSET-SPARC-1-512-40
f370-2664 0257B CPUSET-SPARC-1-512-40-LA
f370-2665 0258B CPUSET-SPARC-2-32-40
f370-2666 0258C CPUSET-SPARC2-32-40
f370-2667 0259B CPUSET-SPARC2-32-40-LA
f370-2668 0259C CPUSET-SPARC2-32-40-LA
f370-2669 0260B CPUSET-SPARC2-64-40
f370-2670 0260C CPUSET-SPARC2-64-40
f370-2671 0261B CPUSET-SPARC2-64-40-LA
f370-2672 0261C CPUSET-SPARC2-64-40-LA
f370-2673 0262B CPUSET-SPARC2-128-40
f370-2674 0262C CPUSET-SPARC2-128-40
f370-2675 0263B CPUSET-SPARC2-128-40-LA
f370-2676 0263C CPUSET-SPARC2-128-40-LA
f370-2677 0264B CPUSET-SPARC2-256-40
f370-2678 0264C CPUSET-SPARC2-256-40
f370-2679 0265B CPUSET-SPARC2-256-40-LA
f370-2680 0265C CPUSET-SPARC2-256-40-LA
f370-2681 0266B CPUSET-SPARC2-512-40
f370-2682 0266C CPUSET-SPARC2-512-40
f370-2683 0267B CPUSET-SPARC2-512-40-LA
f370-2684 0267C CPUSET-SPARC2-512-40-LA
f370-2685 0268B CPUSET-SPARC-4-32-40
f370-2686 0268C CPUSET-SPARC-4-32-40
f370-2687 0269B CPUSET-SPARC-4-64-40
f370-2688 0269C CPUSET-SPARC-4-64-40
f370-2689 0270B CPUSET-SPARC-4-128-40
f370-2690 0270C CPUSET-SPARC-4-128-40
f370-2691 0271B CPUSET-SPARC-4-256-40
f370-2692 0271C CPUSET-SPARC-4-256-40
f370-2693 0272B CPUSET-SPARC-4-512-40
f370-2694 0272C CPUSET-SPARC-4-512-40
f370-2826 0014C CPUSET-SPARC-1-64-40
f370-2829 0186A CPUSET-SPARC-1-32-80
f370-2833 0210A CPUSET-SPARC-4-512-80
f370-2834 0242A CPUSET-SPARC-2-128-40
f370-2835 0254A CPUSET-SPARC-1-256-40
f370-2836 0260A CPUSET-SPARC-2-64-40
f370-2837 0270A CPUSET-SPARC-4-128-40
f370-2962 0196D CPUSET-SPARC-2-32-80
f370-2964 0197D CPUSET-SPARC-2-64-80
f370-2966 0198D CPUSET-SPARC-2-128-80
f370-2967 0199D CPUSET-SPARC-2-256-80
f370-2969 0200D CPUSET-SPARC-2-512-80
f370-2971 0206D CPUSET-SPARC-4-32-80
f370-2973 0207D CPUSET-SPARC-4-64-80
f370-2975 0208D CPUSET-SPARC-4-128-80
f370-2977 0209D CPUSET-SPARC-4-256-80
f370-3096 0186C CPUSET-SPARC-1-32-80
f370-3097 0187C CPUSET-SPARC-1-64-80
f370-3098 0188C CPUSET-SPARC-1-128-80
f370-3099 0189C CPUSET-SPARC-1-256-80
f370-3100 0190C CPUSET-SPARC-1-512-80
f370-3407 0186D CPUSET-SPARC-1-32-80
f370-3408 0187D CPUSET-SPARC-1-64-80
f370-3409 0188D CPUSET-SPARC-1-128-80
f370-3410 0189D CPUSET-SPARC-1-256-80
f370-3411 0190D CPUSET-SPARC-1-512-80


ft-SPARC

Models 1500 and 1600 IOSET

PART # IMP # DESCRIPTION
f370-2466 0024B DISK-1000
f370-2467 0024C DISK-1000
f370-2468 0025B DISK-2000
f370-2469 0025C DISK-2000
f370-2473 0031J IOSET-1000
f370-2474 0031K IOSET-1000
f370-2475 0032J IOSET-2000
f370-2476 0032K IOSET-2000
f370-2500 0054B PACK-IO-1
f370-2506 0059B PACK-IO-2
f370-2652 0245C IOSET-4000
f370-2653 0246A DISK-4000
f370-2653 0317A IOSET-8000
f370-2994 0031F IOSET-1000
f370-2996 0032F IOSET-2000
f370-3131 0320A DISK-8000
f370-3136 0031L IOSET-1000
f370-3137 0032L IOSET-2000
f370-3139 0317A IOSET-8000
f370-3561 0031M IOSET-1000
f370-3562 0032M IOSET-2000
f370-3563 0025E DISK-2000
f370-3566 0031N IOSET-1000
f370-3574 0032N IOSET-2000


ft-SPARC

Models 1500 and 1600 Communication

PART # IMP # DESCRIPTION
f370-2472 0030F SEC
f370-2477 0034D ELP
f370-2478 0034E ELP
f370-2479 0035B VICP-16
f370-2480 0035C VICP-16
f370-2481 0036B VICP-32
f370-2482 0036C VICP-32
f370-2494 0048A VICPLINE
f370-2495 0049A VICPDRIVER
f370-2507 0060B PACK-LIN-DRV-4
f370-2521 0081A BACKPLANE-COM16
f370-2522 0082A BACKPLANE-COM32
f370-2563 0149A CONTROLLER-HDLC
f370-2565 0151B PACK-LIN-DRV-1
f370-2573 0160C SS70D-2-V
f370-2594 0184A VICP-8
f370-2595 0185A VICP-8-LINE
f370-2629 0222A VICP-8-LINE-FT
f370-2648 0240A PACK-VICP8LINE
f370-2698 0278A T1
f370-2699 0279A SS7T-8-V
f370-2710 0308A VICP-8-LINE-NC
f370-2711 0309A VICP-8-LINE-FT-NC
f370-2827 0030D SEC
f370-2828 0049B VICPDRIVER
f370-3236 0344A INSTALL-X25, REL5


ft-SPARC

Models 1500 and 1600 Miscellaneous

PART # IMP # DESCRIPTION
f370-2493 0047B SCSI-TERM
f370-2496 0051B BRIDGE-VME
f370-2497 0052B BRIDGE-VME2
f370-2498 0052C BRIDGE-VME2
f370-2548 0118A BLANK-LOW-DRIVE
f370-2549 0119A BLANK-UPP-DRIVE
f370-2569 0156A RACKMOUNT
f370-2572 0159C CCP
f370-2589 0179A BLANK-CPUSET
f370-2590 0180A BLANK-DRIVE
f370-2591 0181A BLANK-POWER
f370-2592 0182A BLANK-IO-SLOT
f370-2593 0183A BLANK-WIDE-IO
f370-2632 0225A RACKMOUNT-23
f370-2643 0235A ACP
f370-2695 0275A RACKMOUNT-19
f370-2696 0276A RACKMOUNT-24
f370-2697 0277A RACKMOUNT-600
f370-3243 0346A CHASSIS-D STIFFINER KIT
f370-3365 0346B CHASSIS-D STIFFINER KIT
f370-2983 0315A CHASSIS-D-SPLIT
f370-2984 0322A CHASSIS-D-SPLIT-BPA
f370-2985 0323A CHASSIS-D-SPLIT-BPB
f370-2987 0325A CHASSIS-D-CPR
f370-2999 0163A CHASSIS-S
f370-3113 0221B CHASSIS-U-48
f370-2825 0027A TAPE-QIC-525
f370-3155 0027B TAPE-QIC-2500
f370-3551 0027C TAPE-QIC-4000
f560-2562 None Auxillary Grounding Kit


ft-SPARC

Models 1500 and 1600 Cables

PART # IMP # DESCRIPTION
f370-2448 0006A CABLE-CONTROL-D (DSC chassis)
f370-2449 0006B CABLE-CONTROL-D (DSC chassis)
f370-2450 0008A CABLE-SCSI-F
f370-2451 0009A CABLE-DRIVE
f370-2452 0009B CABLE-DRIVE
f370-2453 0010B CABLE-ENET-F
f370-2454 0011C CABLE-ENET
f370-2455 0012B CABLE-VICP-U
f370-2491 0045A PWRCORD-110
f370-2492 0046A PWRCORD-220
f370-2523 0083A CABLES-DRVGRND
f370-2524 0084A CABLES-MAINGRND
f370-2525 0084B CABLES-MAINGRND
f370-2526 0085A CABLES-BATTGRND
f370-2527 0086A CABLES-CONTROL-U (1500 chassis)
f370-2556 0129A CABLE-SCSI-ENET
f370-2560 0146A CABLE-SCSI-SEC
f370-2561 0147A CABLE-ENET-SEC
f370-2562 0148A PWRCORD-E
f370-2571 0158B CABLE-VICP-L
f370-2577 0165B CABLE-V35
f370-2587 0175C CABLE-X25-2-449
f370-2588 0176C CABLE-X25-4-449
f370-2640 0234A CABLE-SS7D-2-V
f370-2641 0234B CABLE-SS7D-2-V
f370-2642 0234C CABLE-SS7D-2-V
f370-2645 0237A CABLE-SCSI-F
f370-2646 0238A CABLE-SCSI-SEC
f370-2647 0239A CABLE-SCSI-ENET
f370-2700 0280A CABLE-SS7T-4-V
f370-2706 0288A CABLE-CONTROL-600
f370-2712 0310A CABLE-SS7T-4-V-NC
f370-2986 0324A CABLE-IBP


ft-SPARC

Models 1500 and 1600 Options

OPTION PART # DESCRIPTION
9561 595-4189 Model 1600 23" Rack Mount
9562 595-4190 Model 1600 19" Rack Mount
9563 595-4191 Model 1600 24" Rack Mount
9564 595-4192 Model 1600 600 mm Rack Mount
3820 595-4193 -48Vdc Operation
4105 595-4194 Model 1600 8 RS232 Ports
4106 595-4195 Model 1600 8 Mirror RS232 Ports
9560 595-4196 Model 1500 19" Rack Mount
5701 595-4197 2GB Mirrored Disk
5702 595-4198 2GB Mirrored Disk #2
5703 595-4199 2GB Mirrored Disk #3
6109 595-4200 525MB 1/4" QIC Tape Drive
6060 595-4201 4 mm DAT Tape Drive
6160 595-4202 CD-ROM
3821 595-4203 110V US Operation
3822 595-4204 240V UK Operation
3823 595-4205 240V European Operation
4101 595-4206 16 Port RS232
4102 595-4207 32 Port RS232
4103 595-4208 FT 16 Port RS232
4104 595-4209 FT 32 Port RS232
4110 595-4210 Ethernet Link Processor
4112 595-4211 FT Ethernet Link Processor
4113 595-4212 2 Port X.25
4114 595-4213 4 Port X.25
4115 595-4214 2 Port SS7 (DGM&S)
3801 595-4215 SS7 CABLE (DGM&S)
4116 595-4216 4 Port SS7 (Trillium)


ft-SPARC

Models 1500 and 1600 Packaging

PART # IMP # DESCRIPTION
f370-2499 0053B PACK-CHASSIS-D
f370-2502 0056B PACK-POWER
f370-2503 0057B PACK-CONTROL
f370-2504 0058B PACK-DRIVES
f370-2505 0058C PACK-DRIVES
f370-2507 0060B PACK-LIN-DRV-4
f370-2517 0078A PACK-CHASSIS-U
f370-2518 0079A PACK-CONSOL
f370-2519 0079B PACK-CONSOL
f370-2554 0126B PACK-CHASSIS-DRIVE
f370-2555 0127B PACK-POWER-48NB
f370-2565 0151B PACK-LIN-DRV-1
f370-2566 0152B PACK-FANS
f370-2574 0162A PACK-CCP
f370-2582 0170A PACK-PROC-2
f370-2583 0171A PACK-MEM
f370-2633 0226C PACK-CHASSIS-F
f370-2648 0240A PACK-VICP-8-LINE
f370-2654 0247A PACK-ACP

  Copyright � 2012 Sun Microsystems, Inc.  All rights reserved.
 Feedback