Sun-4/390/490
SCSI Peripheral Trays

| CODE |
PART # |
DESCRIPTION |
1 2 3 4 5 6 |
540-1865 340-2000 530-1474
240-1202 530-1507 340-1832 340-1999 |
SCSI Tray, Versions 1 and 2 (Shipped before 4/90)
SCSI Tray
SCSI Bus Cable, 73 cm, Internal
#6-32 x 5/8" Peripheral Mounting Screw
SCSI Power Cable, Internal
SCSI Tray Top Cover
Peripheral Cover Plate |
7 8 9 NS 10 11 11
12 13 14 15 16 |
540-1865 340-2143 530-1642
530-1641 530-1638 340-2145
340-2146 340-2305 240-1372
340-2148 240-0258 340-2144
240-0646 |
SCSI Tray, Version 3 (Shipped after 4/90)
SCSI Tray
SCSI Bus Cable, 180 cm
SCSI Power Cable, Internal
DC Power "Y" Cable, 15 cm
Front Plate
Full-Height Peripheral Blank Plate
Half-Height Peripheral Blank Plate
M4 0.7 x 10 mm Screw
Peripheral Mounting Bracket
#6-32 x 3/8" Peripheral Mounting Screw
SCSI Tray Top Cover
Cable Clamp |
| NS |
370-1205 |
150MB Tape Drive, Half-Height, QIC-150 |
| NS |
370-1206 |
150MB Tape Drive, Full-Height, QIC-150 |
| NS |
370-1297 |
2.3GB 8 mm Tape Drive, Full-Height |
| NS |
370-1347 |
644MB CD-ROM, Half-Height |
| NS |
530-1381 |
External Terminator, 50-Pin DD-50SA |
| NS |
530-1435 |
Ext Cable, 50-Pin SCSI-2 to DD-50SA, 2.0M (obs) |
| NS |
530-1593 |
Ext Cable, 50-Pin SCSI-2 to DD-50SA, 1.0M (obs) |
| NS |
530-1508 |
Ext Cable, 50-Pin SCSI-2 to SCSI-2, 80 cm (obs) |
| NS |
530-1501 |
External Cable, 50-Pin SCSI-2 to Centronics, 2.0M |
| NS |
530-1502 |
External Cable, Centronics to Centronics, 1.5 |
| NS |
530-1568 |
External Cable, 50-Pin SCSI-2 to Centronics, 4.0M |
| NS |
530-1792 |
External Cable, 50-Pin SCSI-2 to DD-50SA, 2.0M |
| NS |
530-1793 |
External Cable, 50-Pin SCSI-2 to SCSI-2, 80 cm |
| NS |
530-1829 |
External Cable, 50-Pin SCSI-2 to DD-50SA, 1.0M |
| NS |
530-1842 |
Grounding Cable, CD-ROM, 12.7 cm |
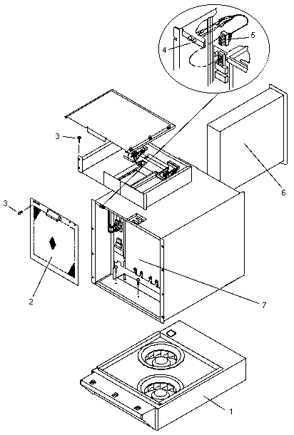
16-Slot VMEbus Logic Enclosure

| CODE |
PART # |
DESCRIPTION |
| 1 |
540-1719 540-1840 530-1560
530-1561 150-1393 240-1614 |
Blower Assembly, 2 Blowers
Centrifugal Fan Assembly
Cable, 32.5 cm, Fan to Terminal
Cable, 86.5 cm, AC Input to Terminal
Capacitor
Terminal Block |
| 2 |
340-1833 |
Front RFI Shield |
| 3 |
240-1372 |
M4 0.7 x 10 mm Screw |
| 4 |
150-1397 |
Indicator LED |
| 5 |
530-1506 |
Indicator LED Cable |
| 6 |
300-1065 |
1200 Watt Power Supply |
| 6 |
300-1047 |
925 Watt Power Supply (obsolete) |
| 7 |
501-1498 |
16-slot Backplane, Pressfit (obsolete) |
| 7 |
501-1597 |
16-slot Backplane, Pressfit |
| NS |
540-1869 |
Load Resistor Assembly (obsolete) 1 |
| NS |
180-1189 |
Power Cord (230V) |
| NS |
180-1190 |
Power Cord (240V) |
| NS |
230-0203 |
Cable Tie, 4" |
| NS |
240-0146 |
Cable Clamp |
| NS |
260-3618 |
SPARCserver 390 Logo |
| NS |
260-3619 |
SPARCserver 490 Logo |
| NS |
530-1534 |
SCSI Power Cable |
|
800-3265 |
Sun 16-Slot Logic Enclosure Field Service Manual |
|
800-3259 |
56-Inch Data Center Cabinet Service Manual |
- The Load Resistor Assembly is only required with the 925 Watt Power Supply.
56-inch Data Center Cabinet

| CODE |
PART # |
DESCRIPTION |
| 1 |
340-1884 |
Anti-Tilt Panel |
| 2 |
540-1857 |
Vented Panel Assembly |
| 3 |
540-1858 |
Upper Panel Assembly, 1/2" and 1/4" Tape, Hinged |
| 4 |
240-1630 |
#6-32 Ballstud |
| 5 |
340-1840 |
Top Panel |
| 6 |
340-1885 |
Side Restraint Bracket, Upper |
| 7 |
240-1372 |
M4 0.7 x 10 mm Sem Screw |
| 8 |
540-1718 |
Frame Assembly |
| 9 |
540-2393 |
Keyswitch Assembly (replaced 540-1285) |
| 10 |
340-1881 |
Hinge Bracket |
| 11 |
340-1848 |
Side Panel |
| 12 |
340-1886 |
Side Restraint Bracket, Lower |
| 13 |
240-1717 |
Caster (replaced 370-1210) |
| 14 |
240-1373 |
M4 0.7 Kepnut |
| 15 |
230-1418 |
Leveler Foot (replaced 230-1181) |
| 16 |
370-1155 |
230V Power Sequencer (obsolete) |
| 16 |
370-1156 |
240V Power Sequencer (obsolete) |
| 16 |
300-1263 |
230V Power Sequencer |
| 16 |
300-1264 |
240V Power Sequencer |
| 17 |
240-1655 |
#10-32 x 3/4" Screw |
| 18 |
340-1845 |
Rear Panel |
| 19 |
340-2047 |
Kick Panel |
| NS |
230-1166 |
Cable Tie 5.5", Reusable |
| NS |
230-1170 |
Cable Tie 10", Reusable |
| NS |
230-1177 |
Snap In Clip |
| NS |
240-1738 |
3/8 x 16 x 4.0 Bolt |
| NS |
240-1739 |
3/8" x 16 x 7.0 Bolt |
| NS |
240-1748 |
3/8" x 16 x 4.0 Bolt |
| NS |
340-1835 |
16-slot Chassis Support Rail, Left |
| NS |
340-1913 |
Filler Panel, 5.2" x 19" |
| NS |
340-2057 |
16-slot Chassis Support Rail, Right |
| NS |
340-2138 |
Ballast, 30 lbs |
| NS |
530-1303 |
Remote Keyswitch Cable |
| NS |
800-3259 |
56-inch Data Center Cabinet Service Manual |
Last updated: December 2, 1996
|