Sun Microsystems, Inc.   Sun System Handbook - ISO 4.1 October 2012 Internal/Partner Edition
   Home | Current Systems | Former STK Products | EOL Systems | Components | General Info | Search | Feedback

Sun-3 SCSI Host Adapter

Sun-4/260/280/330/370/390/490
501-1236

Power

4.8 Amps @ +5Vdc
24.0 Watts

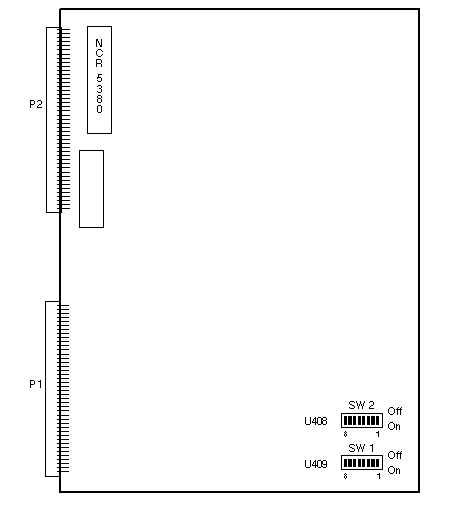
Switch Settings

DIP
SWITCH
SWITCH SETTING DESCRIPTION
SW1*
U409
1
2
3
4
5
6
7
8
On
On
Off
On
On
On
On
On
Address A23
Address A22
Address A21
Address A20
Address A19
Address A18
Address A17
Address A16
SW2*
U408
1
2
3
4
5
6
7
8
On
On**
On
On
On
On/Off
On/Off
On/Off
Address A23
Address A22
Address A21
Address A20
Address A19
Not Connected
Not Connected
Not Connected
*SW1 and SW2 set the address to 0X200000 for the first SCSI.
**SW2, Switch 2, OFF, sets the address to 0x204000 for the second SCSI.

Notes

  1. Do NOT use the original release of this board, 501-1120-xx.
  2. The Sun-3/1xx CPU must be 501-1074-22, 501-1094-22, 501-1134-06, 501-1163-09, 501-1164-09, or greater.
  3. The Sun-3 SCSI must be >=501-1236-02, >=501-1170-06, or >=501-1217-03 when used with a SunLink Channel Adapter.
  4. Set the base address as a second SCSI in Sun-4300 systems. The first SCSI Host Adapter is on the Sun 4300 CPU.
  5. The Sun-3 SCSI must be >=501-1236-08 or >=501-1217-09 when used with the Sun-4400 CPU.
  6. SCSI TERMPWR is provided on boards >=501-1236-08 and >=501-1217-09.

References

  1. Sun-3 SCSI Configuration Procedures, 813-2007-01.
  2. Sun-3 SCSI Host Adapter Configuration Procedures, 813-2077-11


Sun-3 SCSI Host Adapter Assembly

Sun-4/260

501-1170
with P2A and P2C

Power

4.8 Amps @ +5Vdc
24.0 Watts

Sun-3 SCSI Host Adapter Assembly

Sun-4/280/330/370/390/470/490

501-1217
without P2A and P2C

Power

4.8 Amps @ +5Vdc
24.0 Watts


Last updated: December 2, 1996
  Copyright � 2012 Sun Microsystems, Inc.  All rights reserved.
 Feedback