Sun Microsystems, Inc.   Sun System Handbook - ISO 4.1 October 2012 Internal/Partner Edition
   Home | Current Systems | Former STK Products | EOL Systems | Components | General Info | Search | Feedback

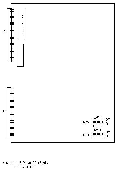
Volume I: SCSI

Sun-3 SCSI Host Adapter

Sun-3/110/140/150/160/180/260/280/460/470/480
Sun-4/260/280/330/370/390/490
501-1236

Switch Settings

  Copyright � 2012 Sun Microsystems, Inc.  All rights reserved.
 Feedback