SPARCserver 1000 and 1000E
S1000 / S1000E / S1001E
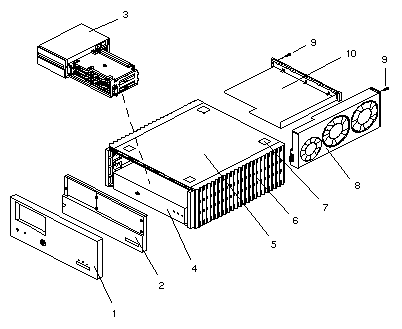
4-Slot XDBus Logic Enclosure
| CODE |
PART # |
DESCRIPTION |
1 2 3 4 - NS 5 6 6 7 NS
8 - - - NS - -
9 9 10 |
540-2273 340-2684 540-2394 340-2689 340-2685
300-1103 330-1651 240-2083 330-1469 330-1470
330-1869 330-1589 340-1590 370-1547
None None None
501-2021 230-1401 240-2168 240-1394 240-1530 540-2388 |
Chassis Assembly
Chassis
Front Bezel Assembly
Front EMI Cover
SCSI Tray
650 Watt Power Supply
Power Key
M6 × 14 mm Screw, Foot
Top and Bottom Cover
Side Cover (obsolete)
Side Cover (required if SM81 is installed)
Cover Plug
Foot
185 CFM Fan Tray Assy, +12Vdc, 4 Amps
6" Fans, 60 CFM @ 1850 RPM @ 0.05" H2O
6" Fans, 80 CFM @ 2950 RPM @ 0.15" H2O
4.7" Fan, 45 CFM @ 2300 RPM @ 0.9" H2O
4-Slot XDBus Backplane
#2-56 Nylon Nut
Guide Pin
M3 × 8 mm Screw (obsolete)
M3 × 6 mm Screw
Empty Slot Filler Panel |
| NS |
150-1785 |
External Active Terminator, 50-Pin SCSI-2 |
| NS |
240-1372 |
M4 0.7 × 10 mm Screw, Backplane |
| NS |
260-6233 |
Sun Logo |
| NS |
260-7146 |
SPARCserver 1000 Nameplate |
| NS |
261-4129 |
SPARCserver 1000E Nameplate |
| NS |
530-1871 |
10BASE-T Cable, RJ45 to RJ45, 4M |
- - - |
560-2011 230-1401 240-2168 |
Guide Pin Kit with 10 Guide Pins
#2-56 Nylon Nut
Guide Pin |
|
801-2895 |
SPARCserver 1000 System Service Manual |
|
|
Information Center |

| CODE |
PART # |
DESCRIPTION |
| 1 |
530-1911 |
Internal SCSI Cable, 1M |
| 2 |
530-1913 |
3 1/2" SCSI Power Cable |
| 3 |
340-2687 |
5 1/4" SCSI Mounting Bracket |
| 4 |
370-1312 |
SunCD CD-ROM |
| 4 |
370-1584 |
SunCD Plus CD-ROM |
| 4 |
370-1682 |
SunCD2 Plus CD-ROM |
| 4 |
370-2103 |
SunCD4 CD-ROM |
| 4 |
370-1571 |
5.0GB 4 mm Tape Drive |
| 5 |
240-1621 |
M3 × 8 mm Screw (obsolete) |
| 5 |
240-1530 |
M3 × 6 mm Screw |
| 6 |
240-1559 |
M4 × 6 mm Screw, Control Board |
| 7 |
501-1979 |
Programmed 40MHz SS1000 Control Board |
| 7 |
501-2412 |
Unprogrammed 40MHz SS1000 Control Board |
| 7 |
501-2667 |
Programmed 50MHz SS1000E Control Board
1
|
| 7 |
501-2673 |
Unprogrammed 50MHz SS1000E Control Board
1
|
| 8 |
330-1856 |
Mylar Shield |
| 9 |
240-1530 |
M3 × 6 mm Screw |
| 10 |
340-2705 |
SCSI Tray Rear EMI Cover |
| 11 |
370-1424 |
535MB 5400 RPM Disk Drive, Conner CP30540 |
| 11 |
370-1424 |
535MB 5400 RPM Disk Drive, Seagate ST3610N |
| 11 |
370-1710 |
1.05GB 5400 RPM Disk Drive, Seagate ST31200N |
| 11 |
370-1963 |
1.05GB 5400 RPM Disk Drive, Conner CFP1080S |
| 11 |
370-1957 |
2.1GB 7200 RPM Disk Drive, IBM DFHS-32160 |
| 11 |
370-2067 |
2.1GB 7200 RPM Disk Drive, Seagate ST32550N |
| 12 |
340-2688 |
3 1/2" Disk Drive Mounting Bracket |
| 13 |
240-1734 |
#6-32 × 3/16" Screw (obsolete) |
| 13 |
240-2077 |
#6-32 × 3/16" Screw |
| 14 |
530-1912 |
5 1/4" SCSI Power Cable |
| 15 |
340-2638 |
Alignment Pin, Backplane |
| 16 |
340-2685 |
SCSI Tray |
| NS |
540-2429 |
1/2-Height Peripheral Filler Panel |
- Fan tray 370-1547-04 is required because of increased EMI by the 50MHz
Control Board and reduced EMI by the fan tray design changes. No changes
were made to the cooling capability of the fan tray.
|