Ultra 5 / Ultra 10
A21 / A22
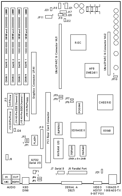
| 375-0009 |
w/o Memory U5 270MHz U10 300/333MHz |
Jumper Settings
| JUMPER |
PINS |
SETTING |
DESCRIPTION |
| JD1 |
1-2 |
Out |
Composite video synchronization |
| JP1 |
1-2 2-3 |
In In |
Select FPROM (default)
Select ROMBO |
| JP2 |
1-2 2-3 |
In In |
FPROM write protect (default)
FPROM write enable |
| JP3 |
1-2 2-3 |
In In |
RS-232
RS-423 (default) |
| JP4 |
1-2 2-3 |
In In |
RS-232
RS-423 (default) |
| JP6 |
1-2 |
N/A |
Not stuffed |
| JP7 |
1-2 |
N/A |
Not stuffed |
| JP8 |
1-2 2-3 |
In In |
Simba Clock Input Normal (default)
Simba Clock Input Test |
JP9 |
1-2 2-3 |
In In |
Simba Clock Input Normal (default)
Simba Clock Input Test |
| JP10 |
1-2 2-3 |
In Out |
Bypass CPU in scan chain (default)
Include CPU in scan chain |
| JP11 |
1-10 |
N/A |
Not stuffed |
Miscellaneous Connectors
| CONNECTOR |
PINS |
DESCRIPTION |
| J7 |
1-10 |
Asynchronous Serial Port B |
| J8 |
1-26 |
Parallel Port |
| J9 |
1-4 |
CD-ROM Audio |
| J10 |
1-24 |
ROMBO |
| J14 |
1-40 |
EIDE Channel 2 (secondary) |
| J15 |
1-40 |
EIDE Channel 1 (primary) |
| J16 |
1-34 |
Floppy |
| J17 |
1-4 |
LED and Soft Reset Switch |
| J18 |
1-4 |
Speaker |
| J19 |
1-3 |
DC Fan Power |
| J20 |
1-8 |
Unknown |
| J21 |
1-8 |
JTAG |
| J22 |
1-2 |
Not stuffed |
| J23 |
1-2 |
Not stuffed |
| J24 |
1-2 |
Unknown |
Graphics Notes
- Creator and Creator3D are not supported in the Ultra 5.
- Elite3D is not supported in the Ultra 5.
- Elite3D is supported in the Ultra 10.
- Elite3D-m6 was not sold with System Board 375-0009.
Memory Notes
- The minimum memory requirement is two DIMMs in any bank.
- The 16MB DIMM uses 10-bit column addressing and was not sold.
- The 32, 64, 128, and 256MB DIMMs use 11-bit column addressing.
- If 10-bit and 11-bit DIMMs are mixed, either pair will be ignored.
- The 256MB DIMMs are not supported in the Ultra 5.
- OBP >=3.25v3 is required when DIMMs manufactured by Micron are
installed with 360MHz, 400MHz, or 440MHz CPU modules.
NVRAM Notes
- The NVRAM was removed from the Service FRU in April 2003.
See FIN I0950-1.
- NVRAMs 525-1430 and 525-1817 include an M48T59 and a carrier.
- System Board 375-0009 was built with an AMP NVRAM socket.
- System Board 375-0009 shipped with NVRAM 525-1430.
- System Board 375-0115 is built with a Chupond NVRAM socket.
- NVRAM 525-1430 is compatible with the Chupond socket on 375-0115.
- NVRAM 525-1817 is not compatible with the AMP socket on 375-0009.
OBP Notes
- The flash PROM is soldered to the system board.
- Use the Flash PROM Programming Utility to update the flash PROM.
- BugIDs 4114343 and 4114784 prevent booting from Dual Ultra SCSI
Controller Options X6540A and X6541A. Use the following workaround:
- ok nvedit
- 0: dev /builtin-drivers
- 1: alias pci1000,1000 pci1000,3
- 2: device-end
- 3: probe-all install-console banner Ctrl-C (to exit)
- ok nvstore
- ok setenv use-nvramrc? true
- ok reset-all
- OBP 3.11 version 9 fixes BugIDs 4114343 and 4114784.
- Modules 501-5568, 501-5148, and 501-5149 require OBP >=3.19v4.
Operating System Notes
- The minimum operating system is Solaris 2.5.1 Hardware: 11/97.
- The minimum Solaris 2.6 release is Solaris 2.6 Hardware: 3/98.
System Board Notes
- The 375-0009 shipped with Ultra 5 270MHz.
- The 375-0009 shipped with Ultra 10 300MHz and 333MHz.
- The 375-0009 is not tested with 360MHz, 400MHz, or 440MHz.
- Graphics quality BugID 4120186 is fixed on 375-0009-07.
- Serial communication BugID 4121884 is fixed on 375-0009-08.
References
Sun Ultra 5/10 Service Manual, 805-0423.
Sun Ultra 5/10 Product Note, 805-3647.
Sun Ultra 5/10 Product Note, 805-4970.
- Sun Ultra 5 ShowMe How CD-ROM, 704-5753.
- Sun Ultra 10 ShowMe How CD-ROM, 704-5983.
Ultra 5 / Ultra 10
A21 / A22
375-0066 w/o Memory |
Shipped Speeds: *
U5: 270/333MHz U10: 333/360MHz |
All Tested Speeds: *
U5: 270/333/360/400MHz U10: 300/333/360/440MHz |
375-0079 w/o Memory |
Shipped Speeds: *
U5: 360/400MHz U10: 333/360/440MHz |
All Tested Speeds: *
U5: 270/333/360/400MHz U10: 300/333/360/440MHz |
375-0115 w/o Memory |
Shipped Speeds: *
U5: 360/400MHz U10: 360/440MHz |
All Tested Speeds: *
U5: 333/360/400MHz U10: 300/333/360/440MHz |
375-3060 w/o Memory |
Shipped Speeds: *
U5: 400MHz U10: 440MHz |
All Tested Speeds: *
U5: 333/360/400MHz U10: 300/333/360/440MHz |
|
* See System Board Notes for further information.
|
Jumper Settings
| JUMPER |
PINS |
SETTING |
DESCRIPTION |
| JP1 |
1-3 |
N/A |
Not stuffed |
| JP2 |
1-2 2-3 |
In In |
FPROM write protect (default)
FPROM write enable |
| JP3 |
1-2 2-3 |
In In |
RS-232 RS-423 (default) |
| JP4 |
1-2 2-3 |
In In |
RS-232 RS-423 (default) |
| JP8 |
1-2 2-3 |
In In |
Simba Clock Input Normal (default)
Simba Clock Input Test |
| JP9 |
1-2 2-3 |
In In |
Simba Clock Input Normal (default)
Simba Clock Input Test |
| JP10 |
1-2 2-3 |
In Out |
Bypass CPU in scan chain (default)
Include CPU in scan chain |
| JP11 |
1-10 |
N/A |
Not stuffed |
Miscellaneous Connectors
| CONNECTOR |
PINS |
DESCRIPTION |
| J7 |
1-10 |
Asynchronous Serial Port B |
| J8 |
1-26 |
Parallel Port |
| J9 |
1-4 |
CD-ROM Audio |
| J10 |
1-24 |
ROMBO |
| J14 |
1-40 |
EIDE Channel 2 (secondary) |
| J15 |
1-40 |
EIDE Channel 1 (primary) |
| J16 |
1-34 |
Floppy |
| J17 |
1-4 |
LED and Soft Reset Switch |
| J18 |
1-4 |
Speaker |
| J19 |
1-3 |
DC Fan Power |
| J21 |
1-8 |
JTAG |
| J22 |
1-2 |
Not stuffed |
| J23 |
1-2 |
Not stuffed |
| J24 |
1-2 |
Not stuffed |
Chassis EZ Label Notes
- The EZ Label is located on the lower left side of the front bezel.
- The EZ Label includes a Service Code and the Serial Number.
- The Service Code identifies changes made to system FRUs.
SERVICE CODE |
CPU |
MODULE |
NVRAM |
Ultra 5 SPEAKER |
Ultra 10 PCI RISER SPACERS |
Ultra 5 POWER SUPPLY |
Ultra 10 POWER SUPPLY |
| None |
375-0009 |
- |
525-1430 |
370-3170 |
Not installed
*
|
370-3162 |
370-3171 |
| PGX24 |
375-0066 |
- |
525-1430 |
370-3170 |
Not installed
*
|
370-3162 |
370-3171 |
| PGX24 |
375-0079 |
- |
525-1430 |
370-3170 |
Not installed
*
|
370-3162 |
370-3171 |
| SR PGX24 |
375-0066 |
501-5568 |
525-1430 |
370-3170 |
Installed |
370-3162 |
370-3171 |
| SR PGX24 |
375-0079 |
501-5568 |
525-1430 |
370-3170 |
Installed |
370-3162 |
370-3171 |
| SERIES 3 |
375-0079 |
- |
525-1430 |
370-3170 |
Installed |
370-3162 |
370-3171 |
| B SERIES 3 |
375-0115 |
- |
 |
370-3170 |
Installed |
370-3162 |
370-3171 |
| C SERIES 3 |
375-0079 |
- |
525-1430 |
370-4212 |
Do not install |
370-3162 |
370-3171 |
| BC SERIES 3 |
375-0115 |
- |
 |
370-4212 |
Do not install |
370-3162 |
370-3171 |
| BCD SERIES 3 |
375-0115 |
- |
 |
370-4212 |
Do not install |
370-4326 |
370-4325 |
| DEV 23441 |
375-3060 |
- |
100-6889 |
370-4212 |
Do not install |
370-4326 |
370-4325 |
* Refer to FCO A0152 for details.
NVRAM 525-1817 or 100-6889. The 100-6889 replaced 525-1817 in October 2000.
Graphics Notes
- PGX24 does not simultaneously support 8-bit and 24-bit graphics.
- Creator and Creator3D are not supported in the Ultra 5.
- Elite3D is not supported in the Ultra 5.
- Elite3D is supported in the Ultra 10.
- Elite3D-m6 was not sold with System Board 375-0066.
Memory Notes
- The minimum memory requirement is two DIMMs in any bank.
- The 16MB DIMM uses 10-bit column addressing and was not sold.
- The 32, 64, 128, and 256MB DIMMs use 11-bit column addressing.
- If 10-bit and 11-bit DIMMs are mixed, either pair will be ignored.
- The 256MB DIMMs are not supported in the Ultra 5.
- Memory speed is 60ns if 50ns and 60ns DIMMs are mixed.
- OBP >=3.25v3 is required when DIMMs manufactured by Micron are
installed with 360MHz, 400MHz, or 440MHz CPU modules.
Module Notes
- Ultra 5 ships with 360MHz/512KB module 501-5148.
- Ultra 10 shipped with 360MHz/2MB module 501-5222.
- Ultra 5 was not shipped with the 440MHz Module.
- 333MHz Module 501-5568 requires OBP >=3.19v4.
- 360MHz Module 501-5148 requires OBP >=3.19v4.
- 440MHz Module 501-5149 requires OBP >=3.19v4.
- 400MHz Modules 501-5740 and 501-5741 require OBP >=3.25v1.
System Board Notes
Boards 375-0066, 375-0079, 375-0115, and 375-3060 were originally
shipped with specific processor speeds, but they have been tested and
qualified at the processor speeds shown below.
| BOARD |
SHIPPED WITH: (MHz) |
TESTED WITH: (MHz) |
| Ultra 5 |
Ultra 10 |
Ultra 5 |
Ultra 10 |
| 375-0066 |
270, 333 |
333, 360 |
270, 333, 360, 400 |
300, 333, 360, 440 |
| 375-0079 |
360, 400 |
440 |
270, 333, 360, 400 |
300, 333, 360, 440 |
after 07/99: 270/333 |
after 07/99: 333/360 |
| 375-0115 |
after 05/00: 360/400 |
after 05/00: 360/440 |
333, 360, 400 |
300, 333, 360, 440 |
| 375-3060 |
after 02/02: 400 |
after 02/02: 440 |
333, 360, 400 |
300, 333, 360, 440 |
NVRAM Notes
- The NVRAM was removed from the Service FRU in April 2003.
See FIN I0950-1.
- NVRAM 525-1430 includes an M48T59 and an AMP carrier.
- NVRAM 100-6948 includes an M48T59 and an AMP carrier. There is no FRU.
- NVRAM 100-6948 replaced 525-1430 on 375-0066 and 375-0079 in March 2001.
- NVRAM 525-1817 includes an M48T59 and a Chupond carrier.
- NVRAM 100-6889 includes an M48T59 and a Chupond carrier.
- NVRAM 100-6889 replaced 525-1817 on 375-0115 in October 2000.
SYSTEM BOARD |
NVRAM SOCKET |
CHUPOND 100-6889* |
CHUPOND 525-1817* |
AMP 525-1430* |
AMP 100-6948* |
| 375-0009 |
AMP |
Not Compatible |
Not Compatible |
Compatible |
Compatible |
| 375-0066 |
AMP |
Not Compatible |
Not Compatible |
Compatible |
Compatible |
| 375-0079 |
AMP |
Not Compatible |
Not Compatible |
Compatible |
Compatible |
375-0079 |
Chupond |
Compatible |
Compatible |
Compatible |
Compatible |
| 375-0115 |
Chupond |
Compatible |
Compatible |
Compatible |
Compatible |
| 375-3060 |
Chupond |
Compatible |
Compatible |
Compatible |
Compatible |
* The M48T59 without carrier is compatible with either NVRAM socket.
Approximately 1200 375-0079 boards were
built with a Chupond socket.
See FIN I0596-1.
Operating System Notes
- The minimum operating system is Solaris 2.5.1 Hardware: 11/97.
- The minimum Solaris 2.6 release is Solaris 2.6 Hardware: 5/98.
- PGX24 Graphics on 2.5.1 HW: 11/97 and 2.6 HW: 5/98 requires
Ultra 5/10 Software Supplement CD 704-5885-11.
References
Sun Ultra 5 Service Manual, 805-7763.
Sun Ultra 10 Service Manual, 805-7764.
Sun Ultra 5/10 Product Note, 805-4970.
|