Sun Microsystems, Inc.   Sun System Handbook - ISO 4.1 October 2012 Internal/Partner Edition
   Home | Current Systems | Former STK Products | EOL Systems | Components | General Info | Search | Feedback



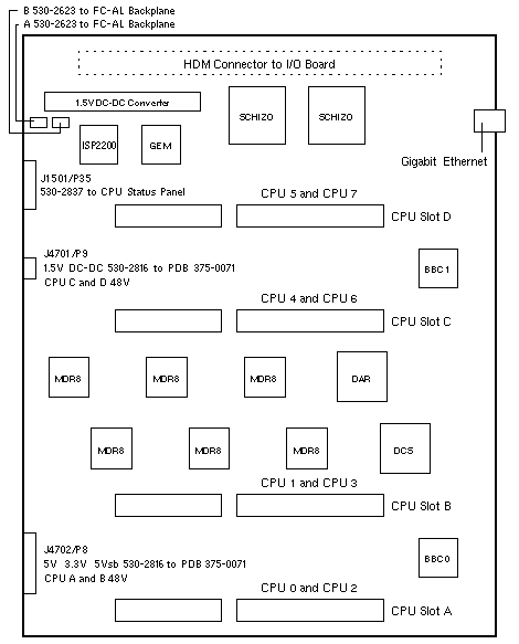
Sun Fire V880/V880z
Motherboard

A30 / A47

501-4300 501-6323
March 2001
<=270-4300-09
November 2001
>=270-4300-10
-01/02 SCHIZO 2.2
-03 SCHIZO 2.4
-04/05 SCHIZO 2.5
501-6752 501-6753
August 2003
reworked 501-6323-02
SCHIZO 2.2
only available from
Sun Services
August 2003
reworked 501-6323-03
SCHIZO 2.4
only available from
Sun Services

Schizo PCI Bridge Addressing

PHYSICAL LOGICAL ICHIP DEVICE PATH SPEED
PCI Slot 8 Bus C Slot 0 1 /pci@9,600000/<device>@1 66MHz
PCI Slot 7 Bus C Slot 1 1 /pci@9,600000/<device>@2 66MHz
PCI Slot 6 Bus D Slot 0 1 /pci@9,700000/<device>@2 33MHz
PCI Slot 5 Bus D Slot 1 1 /pci@9,700000/<device>@3 33MHz
PCI Slot 4 Bus D Slot 2 1 /pci@9,700000/<device>@4 33MHz
PCI Slot 3 Bus B Slot 0 0 /pci@8,700000/<device>@2 33MHz
PCI Slot 2 Bus B Slot 1 0 /pci@8,700000/<device>@3 33MHz
PCI Slot 1 Bus B Slot 2 0 /pci@8,700000/<device>@4 33MHz
PCI Slot 0 Bus B Slot 3 0 /pci@8,700000/<device>@5 33MHz
SCSI onboard 0 /pci@8,700000/<device>@1 33MHz
FC-AL onboard 0 /pci@8,600000/SUNW,qlc@2 66MHz
GEM onboard 0 /pci@8,600000/network@1 66MHz
RIO onboard 1 /pci@9,700000/eri@1,1 33MHz

Sun Fire V880 Codename: Daktari
Sun Fire V880z Codename: Nandi

Notes

  1. The minimum operating system is Solaris 8 7/01.
  2. SCHIZO 2.5 on 501-6323-04/05 and on 501-6771 requires OBP 4.7v5.
  3. 750MHz systems can be upgraded to 900MHz without replacing the motherboard, as long as required levels of Solaris and OBP are present. See Sun Fire V880 Notes for required levels.
    (Mixing module speeds is not supported, however.)

References

  1. Sun Fire V880 Server Service Manual, 806-6597.



Sun Fire V880/V890 Motherboard

A30 / A53

501-6771 501-7199 501-7227
April 2004
270-4300-12
SCHIZO 2.5 or ELE 1.1
V880/V890
June 2005
270-4300-12
SCHIZO 2.5 or ELE 1.1
V880/V890
March 2006
270-4300-13
SCHIZO 2.5 or ELE 1.1
V890
L

Schizo PCI Bridge Addressing

PHYSICAL LOGICAL ICHIP DEVICE PATH SPEED
PCI Slot 8 Bus C Slot 0 1 /pci@9,600000/<device>@1 66MHz
PCI Slot 7 Bus C Slot 1 1 /pci@9,600000/<device>@2 66MHz
PCI Slot 6 Bus D Slot 0 1 /pci@9,700000/<device>@2 33MHz
PCI Slot 5 Bus D Slot 1 1 /pci@9,700000/<device>@3 33MHz
PCI Slot 4 Bus D Slot 2 1 /pci@9,700000/<device>@4 33MHz
PCI Slot 3 Bus B Slot 0 0 /pci@8,700000/<device>@2 33MHz
PCI Slot 2 Bus B Slot 1 0 /pci@8,700000/<device>@3 33MHz
PCI Slot 1 Bus B Slot 2 0 /pci@8,700000/<device>@4 33MHz
PCI Slot 0 Bus B Slot 3 0 /pci@8,700000/<device>@5 33MHz
SCSI onboard 0 /pci@8,700000/<device>@1 33MHz
FC-AL onboard 0 /pci@8,600000/SUNW,qlc@2 66MHz
GEM onboard 0 /pci@8,600000/network@1 66MHz
RIO onboard 1 /pci@9,700000/eri@1,1 33MHz

Sun Fire V880 Codename: Daktari
Sun Fire V890 Codename: Silverstone

Notes

  1. The minimum V890 operating system is Solaris 8 2/04 or Solaris 9 4/04.
  2. The V880 was not built with 501-7199. USIV+ is not supported in the V880.
  3. Use of 501-7199 in the V880 is authorized by CIR976 of September 2005.
  4. Clock synthesizer timing changes on 501-7199 add UltraSPARC IV+ support.
  5. Option X7273A-KIT includes an 8GB 1500MHz USIV+ and System Board 501-7199.
  6. Option X7274A-KIT includes a 16GB 1500MHz USIV+ and System Board 501-7199.

References

  1. Sun Fire V880 Server Service Manual, 806-6597.
  2. Sun Fire V890 Server Service Manual, 817-3957.

  Copyright � 2012 Sun Microsystems, Inc.  All rights reserved.
 Feedback