Sun Microsystems, Inc.   Sun System Handbook - ISO 4.1 October 2012 Internal/Partner Edition
   Home | Current Systems | Former STK Products | EOL Systems | Components | General Info | Search | Feedback



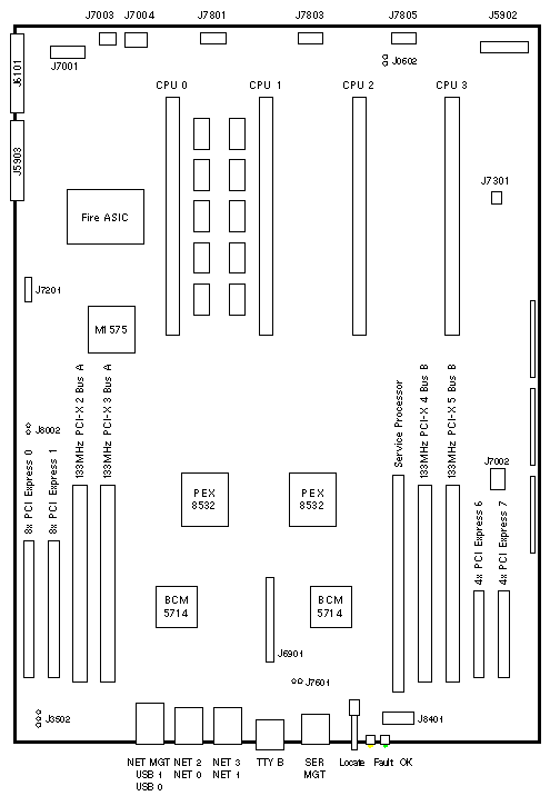
Sun Fire V445

501-7066 F540-6556
Motherboard
L
Assembly/FRU
w Bus Bar 341-1161
w Tray 541-1040
L

Connectors

LOCATION PINS DESCRIPTION
J5902 26 Front I/O Cable 530-3462
J5903 40 PDB Cable 530-3465
J6101 40 DVD Cable 541-1039
J6901 32 SAS Controller Cable 530-6461
J7001 40 Disk Backplane Cable 530-3464
J7002 6 Unknown - not used
J7003 6 Unknown - not used
J7004 6 Disk Backplane Cable 530-3511
J7201 7 SAS - not used
J7301 4 Interlock Switch 530-3510
J7801 10 Fan 4/5 Cable 530-3504
J7803 10 Fan 2/3 Cable 530-3466
J7805 10 Fan 0/1 Cable 530-3466
J8401 10 Unknown - not used

Jumpers

LOCATION PINS SETTING DESCRIPTION
J0602 1-2 Out Unknown
J3502 1-3 Out Unknown
J7601 1-2 Out Unknown
J8002 1-2 In Unknown

Sun Fire V445 Codename: Boston

Notes

  1. The minimum operating system is Solaris 9 9/05 or Solaris 10 6/06.

References

  1. Sun Fire V445 Server Administration Guide, 819-3741.
  2. Sun Fire V445 Server Service Manual, 819-3742.
  3. Sun Fire V445 Server Installation Guide, 819-3743.
  4. Sun Fire V445 Server Product Notes, 819-3744.
  5. Sun Fire V445 Server Supplemental Product Notes, 819-7846.

  Copyright � 2012 Sun Microsystems, Inc.  All rights reserved.
 Feedback