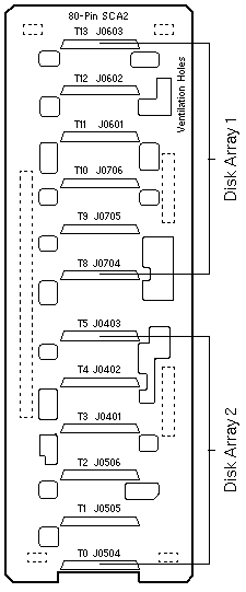
12-Slot SCSI Disk Backplane
| Disk Arrays: |
StorEdge A1000, D1000, N8200 Filer |
Front View
 |
|
Rear View
 |
StorEdge D1000 Controller Address Settings
| SWITCH |
DIP |
SETTING |
DESCRIPTION |
| SW1 |
1 |
Up Down |
Array 1 drive addresses 8-13 (default)
Array 1 drive addresses 0-5 |
| SW1 |
2 |
Up Down |
Array 2 drive addresses 8-13
Array 2 drive addresses 0-5 (default) |
|