Sun Microsystems, Inc.   Sun System Handbook - ISO 4.1 October 2012 Internal/Partner Edition
   Home | Current Systems | Former STK Products | EOL Systems | Components | General Info | Search | Feedback



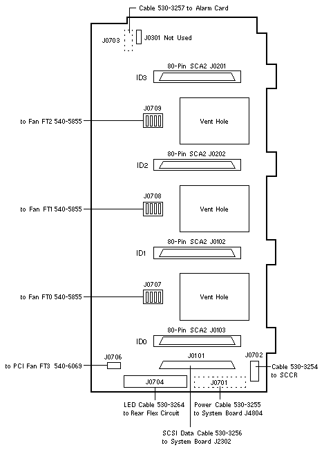
4-Slot SCSI Disk Backplane

Telco: Netra 440

501-6551 540-5853
Backplane Assembly/CRU

Go to RoHS version

Netra 440 Codename: Chalupa 19

References

  1. Netra 440 Server Installation Guide, 817-3882.
  2. Netra 440 Server Service Manual, 817-3883.
  3. Netra 440 Server System Administration Guide, 817-3884.
  4. Netra 440 Server Release Notes, 817-3885.



4-Slot SCSI Disk Backplane

Telco: Netra 440, L

501-7344 540-6704
Backplane
L
Assembly/CRU
Requires ALOM >=1.5.4
L

Go to pre-RoHS version

Netra 440 Codename: Chalupa 19

Notes

  1. Backplane 540-6704/501-7344 requires ALOM >=1.5.4. (Refer to BugID 6335060)

References

  1. Netra 440 Server Installation Guide, 817-3882.
  2. Netra 440 Server Service Manual, 817-3883.
  3. Netra 440 Server System Administration Guide, 817-3884.
  4. Netra 440 Server Release Notes, 817-3885.

  Copyright � 2012 Sun Microsystems, Inc.  All rights reserved.
 Feedback