Sun Microsystems, Inc.   Sun System Handbook - ISO 4.1 October 2012 Internal/Partner Edition
   Home | Current Systems | Former STK Products | EOL Systems | Components | General Info | Search | Feedback



Fibre Channel RAID Controller

Disk Arrays: StorageTek 2540

Option XTA-2540-CTRL-512M

540-7294 375-3499
Battery 371-2482 + 375-3499
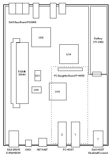
SAS Base Board
with FC Daughter Board
w/o Battery 371-2482

Notes

  1. SAS Base Board P20966 is used in FCAL, iSCSI, and SAS configurations.
  2. FC RAID Controller Tray 375-3518 includes SAS Base Board P20966, FC Daughter Board, and sheetmetal tray.
  3. The SAS Base Board does not have a separate Sun part number.
  4. The FC Daughter Board does not have a separate Sun part number.
  5. Single controller configurations with firmware 07.35.10.10 requires CAM >=6.2.
  6. Firmware 07.35.10.10 is on 375-3518-03. (Reference WO_40339 and GSAP 4547)

References

  1. StorageTek 2500 Series Array Hardware Installation Guide, 820-0015.
  2. StorageTek 2500 Series Array Hardware Release Notes, 820-4349.
  3. StorageTek 2500 Single Controller Replacement Notes, 820-6363.



Fibre Channel RAID Controller

Disk Arrays: StorageTek 2540

Option XTA-2540-CTRL-1GB

540-7737 375-3595 371-4592
Battery 371-2482 + 375-3595
SAS Base Board
with FC Daughter Board
w/o Battery 371-2482
1GB DIMM
XTA-2500-1GBMEM

Notes

  1. SAS Base Board P20966 is used in FCAL, iSCSI, and SAS configurations.
  2. FC RAID Controller Tray 375-3518 includes SAS Base Board P20966, FC Daughter Board, and sheetmetal tray.
  3. The SAS Base Board does not have a separate Sun part number.
  4. The FC Daughter Board does not have a separate Sun part number.

References

  1. StorageTek 2500 Series Array Hardware Installation Guide, 820-0015.
  2. StorageTek 2500 Series Array Hardware Release Notes, 820-4349.
  3. StorageTek 2500 Single Controller Replacement Notes, 820-6363.

  Copyright � 2012 Sun Microsystems, Inc.  All rights reserved.
 Feedback