Sun Microsystems, Inc.   Sun System Handbook - ISO 4.1 October 2012 Internal/Partner Edition
   Home | Current Systems | Former STK Products | EOL Systems | Components | General Info | Search | Feedback



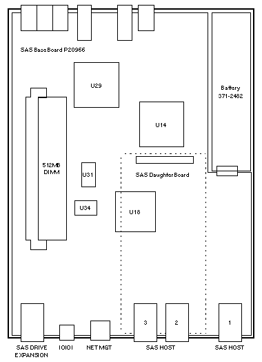
SAS Controller

Disk Arrays: StorageTek 2530

Option XTA-2530-CTRL-512M

540-7292 375-3500
Battery 371-2482
SAS RAID 375-3500
SAS Base Board
with SAS Daughter Board
w/o Battery 371-2482

Notes

  1. SAS Base Board P20966 is used in FCAL, iSCSI, and SAS configurations.
  2. SAS RAID Controller Tray 375-3518 includes SAS Base Board P20966, SAS Daughter Board, and sheetmetal tray.
  3. The SAS Base Board does not have a separate Sun part number.
  4. The SAS Daughter Board does not have a separate Sun part number.
  5. Single controller configurations with firmware 07.35.10.10 requires CAM >=6.2.
  6. Firmware 07.35.10.10 is on 375-3500-02. (Reference WO_40339 and GSAP 4547)

References

  1. StorageTek 2500 Series Array Hardware Installation Guide, 820-0015.
  2. StorageTek 2500 Series Array Hardware Release Notes, 820-4349.
  3. StorageTek 2500 Single Controller Replacement Notes, 820-6363.



SAS Controller

Disk Arrays: StorageTek 2530

Option XTA-2530-CTRL-1GB

540-7738 375-3596 371-4592
Battery 371-2482
SAS RAID 375-3596
SAS Base Board
with SAS Daughter Board
w/o Battery 371-2482
1GB DIMM
XTA-2500-1GBMEM

Notes

  1. SAS Base Board P20966 is used in FCAL, iSCSI, and SAS configurations.
  2. SAS RAID Controller Tray 375-3596 includes SAS Base Board P20966, SAS Daughter Board, and sheetmetal tray.
  3. The SAS Base Board does not have a separate Sun part number.
  4. The SAS Daughter Board does not have a separate Sun part number.

References

  1. StorageTek 2500 Series Array Hardware Installation Guide, 820-0015.
  2. StorageTek 2500 Series Array Hardware Release Notes, 820-4349.
  3. StorageTek 2500 Single Controller Replacement Notes, 820-6363.

  Copyright � 2012 Sun Microsystems, Inc.  All rights reserved.
 Feedback