Sun Microsystems, Inc.   Sun System Handbook - ISO 4.1 October 2012 Internal/Partner Edition
   Home | Current Systems | Former STK Products | EOL Systems | Components | General Info | Search | Feedback

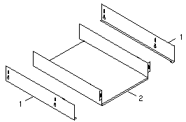
Rack Mount Kit

Disk Arrays: StorEdge A1000, D1000

9653



Table Legend
NS = Not Shown

CODE PART # DESCRIPTION
-
-
1
2
NS
NS
595-3906
540-3088
340-7026
340-4469
240-1953
240-3418
Option X9653A
Rack Mount Kit
Universal Rack Bracket (×2)
Tray
#10-32 × 1/2" Screw (×16)
10×14×.04375 Screw (×4)
-
-
1
2
NS
NS
595-6041
540-5028
340-7026
340-4469
240-1953
240-3418
Option X9653B
Rack Mount Kit
Universal Rack Bracket (×2)
Tray
#10-32 × 1/2" Screw (×16)
10×14×.04375 Screw (×4)


  Copyright � 2012 Sun Microsystems, Inc.  All rights reserved.
 Feedback