Sun Microsystems, Inc.   Sun System Handbook - ISO 4.1 October 2012 Internal/Partner Edition
   Home | Current Systems | Former STK Products | EOL Systems | Components | General Info | Search | Feedback

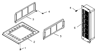
Rack Mount Kit and Blower

Servers: SPARCserver 1000
Disk Arrays: SPARCstorage Array

965 966
56-inch Cabinet
Rack Mount Kit
56-inch Cabinet
Blower



Table Legend
NS = Not Shown

CODE PART # DESCRIPTION
-
1
2
3
4
5
-
6
NS
NS
595-3775
240-2248
340-3239
340-3237
240-1953
340-3235
595-3858
370-1983
530-1343
530-1351
56" Rack Mounting Kit, Option X965A
M6 1.0 × 10 mm Screw (×4)
Chassis Mounting Bracket
Rack Mounting Bracket, Left
#10-32 × 1/2" Screw (×12)
Rack Mounting Bracket, Right
Blower Option X966A
Blower (not included with Option 965)
IEC 320 - Reverse IEC 320 Power Cord, 240V
IEC-320-c13 to NEMA 6-15p, Power Cord 10A/250V, 2M

802-3778 Blower Product Note

801-7161 Rack Mount Kit Installation Manual

Notes

  1. This Rack Mount Kit and Blower were introduced in July 1995.
  2. The Rack Mount Kit is not designed to fit standard 19-inch racks.
  3. Install up to four SPARCserver 1000, disktower 1000, or SPARCstorage Array chassis in the 56" Rack.
  4. One blower is required when two chassis are in adjacent positions.
  5. Two blowers are required when two chassis are in non-adjacent positions or when more than two chassis are installed.
  6. Do NOT mix blower 370-1983 with fan 540-1929 or 540-1930.

  Copyright � 2012 Sun Microsystems, Inc.  All rights reserved.
 Feedback