Sun Microsystems, Inc.   Sun System Handbook - ISO 4.1 October 2012 Internal/Partner Edition
   Home | Current Systems | Former STK Products | EOL Systems | Components | General Info | Search | Feedback

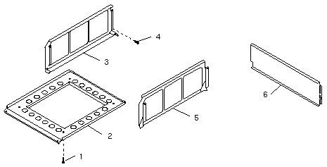
Rack Mount Kit and Air Baffle

Servers: Enterprise 4x00

972 9601 9621
56-inch Cabinet
Rack Mount Kit
Air Baffle 68-inch Cabinet
Rack Mount Kit

CODE PART # DESCRIPTION
-
-
1
2
3
4
5
595-4157
595-4157
240-2367
340-3609
340-3608
240-1953
340-3607
802-7249
56" Cabinet Rack Mount Kit, Option X972A
68" Cabinet Rack Mount Kit, Option X9621A
M6 1.0 × 16 mm Screw (×4)
Chassis Mounting Bracket
Rack Mounting Bracket, Left
#10-32 × 1/2" Screw (×16)
Rack Mounting Bracket, Right
Ultra Enterprise 4000 Rackmounting Guide

4
6

595-4227
240-1953
340-3302
802-7725
Expansion Cabinet Air Baffle, Option X9601A
#10-32 × 1/2" Screw (×6)
Air Baffle
Air Baffle Installation Guide

Notes

  1. Rack mount options are designed for the Enterprise Expansion Cabinet.
  2. Rack mount options are not designed for the 56-inch Expansion Cabinet.
  3. Rack mount options are not designed to fit standard 19-inch racks.
  4. Three E4000s can be installed in the 56" Enterprise Expansion Cabinet.
  5. One E4000 can be installed in the Enterprise 5000 system cabinet.
  6. Option X9601A is required when three E4000s are installed in the 56" Enterprise Expansion cabinet.

  Copyright � 2012 Sun Microsystems, Inc.  All rights reserved.
 Feedback