Sun Microsystems, Inc.   Sun System Handbook - ISO 4.1 October 2012 Internal/Partner Edition
   Home | Current Systems | Former STK Products | EOL Systems | Components | General Info | Search | Feedback

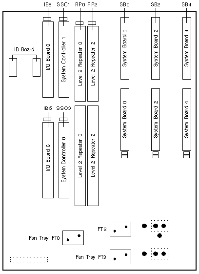
3-Slot Centerplane

Servers: Sun Fire 4810


501-4970 501-5878
Manufacturing Assembly
Programmed ID
FRU Assembly
Unprogrammed ID

Front View

Rear View

Sun Fire 3800-6800 Codename: Serengeti

  Copyright � 2012 Sun Microsystems, Inc.  All rights reserved.
 Feedback